Honda Motorrad Ersatzteile Versand
Ihr Konto
Kasse
Warenkorb
Startseite
»
Ersatzteile
»
CR250 R (Europa Direkt)
Kategorien
Honda Original Kettensatz
Honda Original Lenkkopflager
Repsol Öl, Pflegemittel
Werkstatt-Handbuecher & Literatur
Werkstatt & Co
Schmiermittel & Öl
Restposten
Suche Reifen
Teile suchen
Geben Sie hier Ihre
Fahrgestellnummer
ein.
Mehr über...
Versandkosten
Kontakt
Datenschutz
Unsere AGB's
Impressum
Informationen
Händler ?
FAQ
Motorradhelme
Fahrgestellnummer
Bewertungen
Originalware ! Schneller Versand ! Toller Shop ! 5 Sterne ! ..
Angebote
mehr Angebote
Hilfe
CR250 R (Europa Direkt)
Alle Gruppen
Motor
Rahmen
Zubehör
Produkt
Zylinder/ Zylinderkopf (cr250r2-4)
Klappenventil (cr250r2-4)
Kurbelgehäuseabdeckung
Wasserpumpe
Kupplung
Kurbelgehäusedeckel, Links/ Generator
Kurbelgehäuse (cr250r4)
Kurbelwelle
Getriebe
Schalttrommel
Kickstarterspindel
Vergaser (cr250r4-7)
Zusaetzlicher Vergaser Bauteilesatz (cr250r4-7)
Hebelgriff/ Schalter/ Kabel (cr250r4-7)
Vorderradbremse
Rohrgriff/ Obere Bruecke (cr250r4-7)
Lenkschaft
Kotfluegel, Vorne
Gabel, Vorne
Vorderrad-bremssattel
Vorderrad
Hinterrad-bremssattel
Hauptbremszylinder, Hinten
Hinterrad
Kraftstofftank
Sitz
Luftfilter (cr250r2-4)
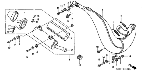
Expansionskammer (cr250r2-4) (ed,u)
Pedal
Stufe
Schwinge
Kissen, Hinten
Kotfluegel, Hinten
Servomotor
Kabelbaum
Kuehler (cr250r2-4)
Rahmenkoerper
Werkzeuge
Warnetikett
Marke (cr250r2-5)
Dichtung Satz
CR250R4
Lackstift
Sie können als Gast (bzw mit Ihrem derzeitigen Status) keine Preise sehen
exkl.
Versandkosten
Willkommen zurück!
eMail-Adresse:
Passwort:
Versandkosten
D - 6,99 €
EU - 17,99 €
(siehe
AGBs
)
Wednesday, 17. December 2025
Parse Time: 0.137s