Honda Motorrad Ersatzteile Versand
Ihr Konto
Kasse
Warenkorb
Startseite
»
Ersatzteile
»
MT50SP (SD)
Kategorien
Honda Original Kettensatz
Honda Original Lenkkopflager
Repsol Öl, Pflegemittel
Werkstatt-Handbuecher & Literatur
Werkstatt & Co
Schmiermittel & Öl
Restposten
Suche Reifen
Teile suchen
Geben Sie hier Ihre
Fahrgestellnummer
ein.
Mehr über...
Versandkosten
Kontakt
Datenschutz
Unsere AGB's
Impressum
Informationen
Händler ?
FAQ
Motorradhelme
Fahrgestellnummer
Bewertungen
Originalware ! Schneller Versand ! Toller Shop ! 5 Sterne ! ..
Angebote
mehr Angebote
Hilfe
MT50SP (SD)
Alle Gruppen
Motor
Rahmen
Zubehör
Produkt
Zylinder/ Zylinderkopf
Kurbelgehäuseabdeckung
Kupplung
Kurbelgehäusedeckel, Links/ Generator
Ölpumpe
Kurbelgehäuse
Kurbelwelle/ Kolben
Getriebe (h/ Sd)
Schalttrommel/ Schaltgabel
Kickstarterspindel
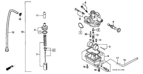
Vergaser
Scheinwerfer (b/ H/ Sd)
Drehzahlmesser
Hebelgriff/ Kabel/ Schalter
Rohrgriff/ Obere Bruecke
Lenkschaft
Kotfluegel, Vorne
Gabel, Vorne
Bremsplatte, Vorne
Vorderrad
Bremsplatte, Hinten
Hinterrad
Kraftstofftank
Sitz/ Windlauf, Hinten
Seitenabdeckung/Öltank
Luftfilter
Abgas-schalldämpfer
Schaltpedal/ Bremspedal/ Kickstarter-arm
Stufe
Staender
Schwinge
Kissen, Hinten
Kotfluegel, Hinten
Blinker (e/ Sd)
Heckleuchte (b/ Dk/ E/ Ed/ N/ Sd)
Batterie/ Regler
Kabelbaum/ Zuendspule (3)
Rahmenkoerper
Werkzeuge
Warnetikett
Marke
Dichtung Satz
MT50SP
Lackstift
Sie können als Gast (bzw mit Ihrem derzeitigen Status) keine Preise sehen
exkl.
Versandkosten
Willkommen zurück!
eMail-Adresse:
Passwort:
Versandkosten
D - 6,99 €
EU - 17,99 €
(siehe
AGBs
)
Saturday, 08. November 2025
Parse Time: 0.474s