Honda Motorrad Ersatzteile Versand
Ihr Konto
Kasse
Warenkorb
Startseite
»
Ersatzteile
»
XR400 R (Europa Direkt)
Kategorien
Honda Original Kettensatz
Honda Original Lenkkopflager
Repsol Öl, Pflegemittel
Werkstatt-Handbuecher & Literatur
Werkstatt & Co
Schmiermittel & Öl
Restposten
Suche Reifen
Teile suchen
Geben Sie hier Ihre
Fahrgestellnummer
ein.
Mehr über...
Versandkosten
Kontakt
Datenschutz
Unsere AGB's
Impressum
Informationen
Händler ?
FAQ
Motorradhelme
Fahrgestellnummer
Bewertungen
TOP Service!!! schnelle antworten bei fragen. Unvers-
ehrter ..
Angebote
mehr Angebote
Hilfe
XR400 R (Europa Direkt)
Alle Gruppen
Motor
Rahmen
Zubehör
Produkt
Zylinderkopfdeckel
Zylinderkopf
Nockenwelle/ Ventil
Nockenwellenkette/ Spannvorrichtung
Zylinder
Kurbelgehäuseabdeckung
Kupplung
Ölpumpe
Kurbelgehäusedeckel, Links
Generator
Kurbelgehäuse
Kurbelwelle/ Kolben
Getriebe
Schalttrommel/ Schaltgabel
Kickstarterspindel
Vergaser
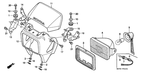
Scheinwerfer
Messgeraet
Hebelgriff/ Schalter/ Kabel
Vorderradbremse
Rohrgriff/ Obere Bruecke
Lenkschaft
Kotfluegel, Vorne
Gabel, Vorne
Vorderrad-bremssattel
Vorderrad
Hauptbremse, Hinten Zylinder
Hinterrad-bremssattel
Hinterrad
Kraftstofftank
Sitz
Seitenabdeckung
Luftfilter
Abgas-schalldämpfer
Pedal/ Staender/ Kickstarter-arm
Stufe
Schwinge/ Kettengehäuse
Kissen, Hinten
Kotfluegel, Hinten (ed)
Heckleuchte
Kabelbaum/ Zuendspule
Rahmenkoerper
Ölkuehler
Werkzeuge
Warnetikett
Marke
Dichtung Satz A
Dichtung Satz B
Gabelschluessel
XR400R4
Lackstift
Sie können als Gast (bzw mit Ihrem derzeitigen Status) keine Preise sehen
exkl.
Versandkosten
Willkommen zurück!
eMail-Adresse:
Passwort:
Versandkosten
D - 6,99 €
EU - 17,99 €
(siehe
AGBs
)
Thursday, 06. November 2025
Parse Time: 0.111s