Honda motorbike parts mail order
Your account
Cash box
Shopping Cart
Main Page
»
Spares
»
NX125 (Frankreich, Belgien),
Categories
Honda CHAIN KIT, DRIVE
Honda Original Lenkkopflager
Repsol OIL
Workshop Manual & Literature
Workshop Accessories
Lubricants & oil
Remaining Stock /Specials
Search tires
Search components
Enter the
Vehicle Identification Number
.
More about...
Delivery costs
Contact
Privacy Notice
Conditions of Use
Imprint
Informations
Sitemap
FAQs
Helmets
VIN
Specials
more Offers
Help
NX125 (Frankreich, Belgien),
All Groups
Motor
Frame
Accessoires
product
Cylinder Head
Camshaft/ Valve
Cam Chain/ Tensioner
Cylinder
Right Crankcase Cover
Clutch
Oil Pump
Left Crankcase Cover
Generator
Starter Motor
Crankcase
Crankshaft / Piston
Transmission
Gearshift Drum
Carburetor
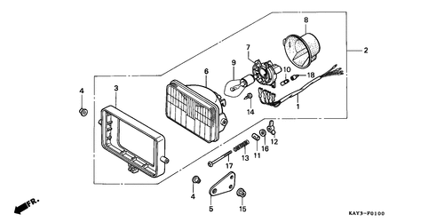
Headlight
Meter
Handle Lever/ Switch/ Cable
Frechts Brake Master Cylinder
Handle Pipe/ Top Bridge
Steering Stem
Front Fender
Front Fork
Front Brake Caliper
Front Wheel
Rear Brake Panel
Rear Wheel
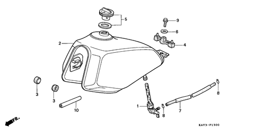
Fuel Tank
Seat
Side Cover
Air Cleaner
Exhaust Muffler
Pedal
Step
Side Stand
Rear Fork/ Chain Case
Rear Cushion
Rear Fender
Winker
Taillight
Battery
Wire Harness
Frame Body
Tools
Cowl
Caution Label
Stripe (1)
Stripe (2)
NX125K
Touch Up Paint Stick
You do not have the permission to see the prices
excl.
Shipping costs
Welcome back !
eMail Address:
Password:
Versandkosten
D - 6,99 €
EU - 17,99 €
(siehe
AGBs
)
Saturday, 15. November 2025
Parse Time: 0.427s