Envío de repuestos para motocicletas Honda
Mi Cuenta
Confirmar Pedido
Carro de Compras
Inicio
»
Repuestos
»
TRX650 FA (Australien)
Categorías
Honda KIT DE CADENA, TRANSMISION
Honda Original Lenkkopflager
Manual de Taller
Repsol OIL
Taller mecánico Accesorios
Lubricante & óleo
Remesa Restante/Specials
Búsqueda de neumáticos
Buscar parte
Introduzca el número de
identificación del vehículo
Más sobre...
Envíos/Devoluciones
Contáctenos
Confidencialidad
Condiciones de uso
Pie de imprenta
Le interesa saber...
Preguntas frecuentes
Ofertas
Más ofertas
Avuda
TRX650 FA (Australien)
Todos los grupos
Motor
Chasis
Accesorios
producto
Culata De Cilindro
Arbol De Levas/ Valvula
Cadena De Leva/ Tensionador
Cilindro
Bomba De Agua
Cubierta De Carter Delinks
Embrague (primera)
Embrague (2-3)
Convertidor De Par Torsor
Bomba De Aceite
Cubierta Carter Trasero
Generador
Engranaje De Arranque
Motor De Arranque
Carter De Motor
Ciguenal/ Piston
Transmision
Cuerpo Valvula Principal
Engranaje De Inversion
Horquilla De Cambio
Eje Final
Arrancador De Retroceso
Carburador
Faro Delantero
Indicador
Palanca De Manija/ Interruptor/ Cable
Cilindro Maestro De Freno
Tuberia De Manija
Eje De Direccion
Barra De Acoplamiento
Guardabarros Delantero
Palanca Selectora
Acolchado Delantero
Brazo Delantero
Articulacion Delantera
Engranaje Final Delantero
Panel De Freno Delantero
Rueda Delantera
Rueda Trasera
Cilindro Maestro De Freno
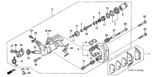
Calibre De Freno Trasero
Engranaje Impulsado Final
Eje De Helice
Tanque De Combustible
Cubierta De Cuerpo
Asiento
Limpiador De Aire
Silenciador De Escape
Estribo
Brazo Trasero
Estabilizador
Articulacion Trasera
Almohadilla Trasera
Guardabarros Trasero
Sobre Guardabarros (u)
Luz Trasera
Bateria (u)
Conjunto De Alambres
Cuerpo De Bastidor
Enfriador De Aceite
Radiador
Transportador
Herramientas
Etiqueta De Precaucion
Marca
Equipo De Empacadura A
Equipo De Empacadura B
TRX650FA3
Laca Touch Up Paint Stick
No tiene permiso para ver los precios
Excluído:
Costes de Envío
Entre en su Cuenta
E-Mail:
Contraseña:
Versandkosten
D - 6,99 €
EU - 17,99 €
(siehe
AGBs
)
Saturday, 29. November 2025
Parse Time: 1.246s